
《余热锅炉》是安徽海螺川崎工程有限公司、川崎重工业株式会社、安徽海螺川崎节能设备制造有限公司于2016年2月6日申请的专利,该专利申请号:2016800100543,专利公布号:CN107709879A,专利公布日:2018年2月16日,发明人是:竹中幸弘、赵峰娃、考传利、井野辰夫、赵米晗、野副拓朗、张皓、王晓兵、汪宁、肖杰玉、方伟、刘大柱、周健。
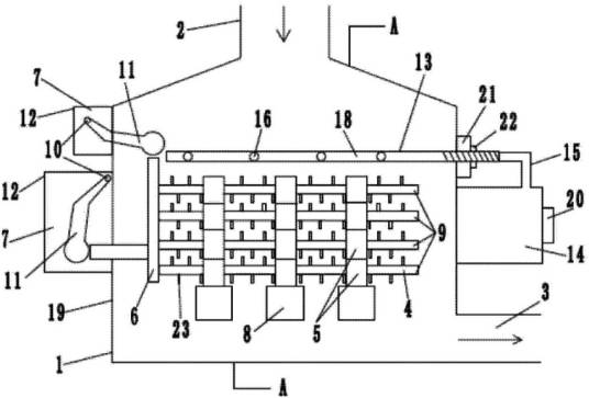
一种余热锅炉及其振打装置、导热管安装结构。《余热锅炉》的余热锅炉包括锅炉(1)、设于锅炉(1)内的导热管(4)和振打装置,所述锅炉(1)设有废气入口(2)和废气出口(3),导热管(4)采用水平格子布置,导热管(4)的表面设有翅片(23),且所述导热管(4)以不固定的方式与支撑组件(5)相连接。
2021年8月16日,《余热锅炉》获得安徽省第八届专利奖优秀奖。
(概述图为《余热锅炉》的摘要附图)
想要了解更多“余热锅炉(专利)”的信息,请点击:余热锅炉(专利)百科
